분류 전체보기 38

버진그룹 스팩, DNA 스타트업 '23앤드미'와 합병

미국의 유전자 분석 업체인 '23앤드미'(23andMe)가 영국의 억만장자 리처드 브랜슨 회장이 이끄는 버진그룹의 기업인수목적회사(SPAC·스팩)와 합병할 계획이라고 미 월스트리트저널(WSJ) 등이 4일(현지시간) 보도했다. 버진그룹의 스팩 '버진 애쿼지션'(VG Acquisition Corp)은 이미 나스닥에 상장돼 있어 합병이 이뤄지면 23앤드미는 바로 뉴욕 증시에 상장된다. 미 캘리포니아주 실리콘밸리에 본사를 둔 23앤드미는 질병을 진단할 수 있는 유전자 검사 키트 등을 주력 사업으로 하는 업체다. 출처 : www.mk.co.kr/news/world/view/2021/02/121455/ 버진그룹 스팩, DNA 스타트업 '23앤드미'와 합병 www.mk.co.kr

버진 갤럭틱(Virgin Galactic) : 미국 민간 우주 관광 기업

종목명 : Virgin Galactic Holdings, Inc. (SPCE) 거래소 : NASDAQ (미국 나스닥) 민간 기업이 우주 개발을 주도하는 ‘뉴스페이스’ 시대 도래 버진 갤럭틱은 민간 우주여행 상용화에 가장 앞서 있다는 평가 Virgin Galactic - 버진 갤럭틱(Virgin Galactic)은 버진 그룹(Virgin Group)의 우주 비행 회사로서 상업용 우주선을 개발하고 있으며 우주 관광객에게 궤도 우주선 관광 서비스를 제공하고 우주 과학 탐사 임무 역시 수행함. - 버진 갤럭틱의 궤도우주선인 SpaceShipTwo는 White Knight Two라는 항공 모함 비행기 아래에서 발사. - 우주관광 1인당 비용은 25만 달러(약 3억원)이고, 레오나르도 디카프리오, 브래드 피트, 저..

시바니 스틸워터(Sibanye Stillwater) : 남아공 백금 팔라듐 채굴 광산회사

종목명 : Sibanye Stillwater Limited (SBSW) 거래소 : New York Stock Exchange (뉴욕증권거래소) 2019년 전년비 43.96% 성장 2020년 매출 70억 달러 예상 Sibanye-Stillwater - Sibanye-Stillwater는 다국적 귀금속 채광 회사로 남아프리카 공화국(SA)과 미국(US)에서 백금족 금속(PGM), 금, 비금속 사업의 다양한 포트폴리오를 가지고 있음. - 2019년 연례 보고서에 따르면 이 회사는 220만 온스의 PGM과 90만 온스의 금을 채굴했으며 매출은 약 50억 달러를 기록. - 2019년 6월 Sibanye-Stillwater는 영국 최대 백금 채굴 업체인 Lonmin Plc를 인수 후 세계에서 가장 큰 백금 및 로듐..

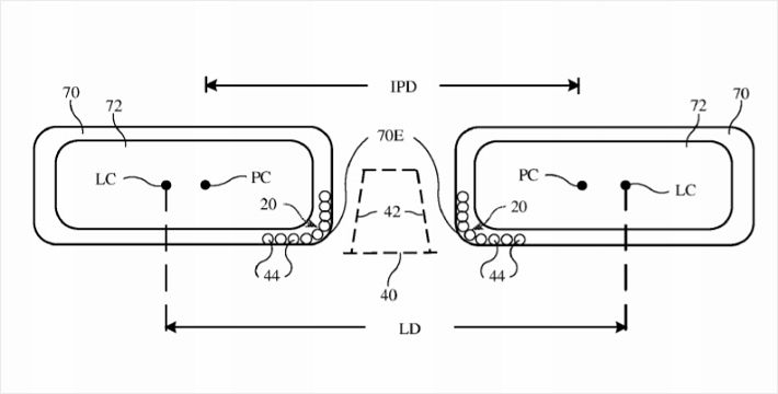
애플, 스마트 글래스 새 특허 '자동 거리 초점'

자동 거리 초첨 기능 통상 VR용 헤드 마운트(HMD)는 착용시 눈과 스크린 사이의 적절한 거리를 유지해야 하는데 사람마다 얼굴형태나 시력, 움직임에 따라 달라져 일부 사용자의 경우 어지러움증을 호소하는 경우가 있다. 최근에는 디지털 방식으로 스크린의 초점을 조절하기도 하지만 대부분은 헤드 마운트 착용방법이나 스크린 기술 보완으로 해결하고 있다. www.nocutnews.co.kr/news/5300238 애플, 스마트 글래스 새 특허 '자동 거리 초점' 애플이 증강현실(AR) 스마트 글래스를 개발하고 있는 가운데 '자동 거리 초점'이라는 새로운 특허를 출원했다. 통상 VR용 헤드 마운트(HMD)는 착용시 눈과 스크린 사이의 적절한 거리를 유지해야 www.nocutnews.co.kr

중국 라미엔쇼어(Ramen talk) 열풍

라미엔쇼어(拉面说)의 주요 전략은 타 브랜드와의 콜라보레이션이다. 유명 제품인 감기약 999의 이름을 따서 '999 라면'을 출시하고 구기자 등의 한약재를 첨가한 제품들을 출시해 소비자들의 호평을 받았다. 또 젊은 층의 밤샘 문화에 착안해 웰빙 라면인 '잠 못 이루는 라면, 睡不着拉面' 시리즈를 출시해 젊은이들의 수요를 충족시켰다. 그 외에도 수많은 합작 프로젝트로 해당 브랜드는 고급스럽고 건강한 브랜드로 자리매김하며 인지도를 강화하는데 성공했다. 출처: 코트라 2020년 중국 소비 트렌드, 2021년에도 이어질까? 2021-02-03 중국 톈진무역관 이시흔 search.kaola.com/brand/17287.html 拉面说 Ramen talk【海淘 价格 】-考拉海购 拉面说 Ramen talk 在售商品5..

필버라 미네랄즈(Pilbara Minerals) : 호주 리튬 채굴 광산회사

종목명 : Pilbara Minerals Limited (PILBF) 거래소 : Australian Securities Exchange (호주) 2020년 매출 85 AUD million (한화 약 730억원, 전년대비 199% 성장) Pilbara Minerals Limited (PILBF) - Pilbara Minerals Limited (Pilbara Minerals)는 호주 리튬 생산 업체이자 호주 증권 거래소(ASX : PLS)의 상위 300개 회사 포함. - 100% 소유의 Pilgangoora Lithium-Tantalum Project (Pilgangoora Project)의 개발을 통해 전기 자동차 및 에너지 저장 시장을 기반으로 빠르게 성장하는 리튬 공급망의 주요 업체. - Pilbar..

솔라베스트(solarvest) : 말레이시아 태양광 발전 기업

종목명 : Solarvest Holdings Bhd (SLVEST) 거래소 : Bursa Malaysia (말레이시아) 2020년 매출 253 RM million (한화 약 700억원, 전년대비 126%성장) 매출이익률 15% Solarvest Holding Berhad(SLVES) - 많은 사람들이 청정 에너지를 쉽게 이용할 수있는 세상을 만들겠다는 비전으로 2012년에 설립. - 말레이시아의 SEDA (재생 에너지 개발 당국), ISPQ (재생 전력 품질 연구소) 및 GCPV (그리드 연결 태양광 발전)로부터 인증을 획득한 최초의 그리드 연결 태양광 발전 설비 공급 업체. - Solarvest는 태양 에너지 채택을 지지해왔으며 선도적인 태양열 턴키 엔지니어링, 조달, 건설 및 시운전 (“EPCC”) ..

네스테(Neste) : 핀란드 바이오 연료 솔루션 제공 기업

네스테(Neste) 세계 최고의 재생가능 디젤 및 지속가능 항공 연료 생산업체이자, 화학산업을 위한 재생가능하고 순환적인 솔루션 제공의 선두 기업. 최근 국내 LG화학 네스테(Neste)와 전략적 파트너십 체결(2020년 11월) "LG화학이 바이오 원료를 활용해 친환경 합성수지 생산에 나선다. 이와 관련 LG화학은 5일 세계 최대 바이오 디젤 기업인 핀란드 Neste(네스테)와 바이오 기반 친환경 사업 및 관련 시장 확대를 위한 전략적 파트너십(MOU)을 체결했다고 밝혔다." ‘LG화학·네스테(Neste)’ 전략적 파트너십 체결 [주간한국 송철호 기자] LG화학이 바이오 원료를 활용해 친환경 합성수지 생산에 나선다. 이와 관련 LG화학은 5일 세계 최대 바이오 디젤 기업인 핀란드 Neste(네스테)와 ..

(2021/01/25) 발레 추매 목표가 16.76USD

발레(Vale SA) : 브라질 최대 채광 기업 추매 진입가: 언더 16.76USD 주요 뉴스 (2020/1/23) 브라질 Vale, 댐 붕괴 사고 관련 정부와 의견 좁혀 브라질 미나스 제 라이스 주 정부는 지난 목요일 Vale와의 회의에서 지난 댐 붕괴 사고에 대한 보상금을 8조로 낮춤(기존 9.5조 제시) Vale는 회의 당시 피해보상금 3.5조를 제안함. 미나스 제 라이스주의 브루 마지 뉴 마을에서 발생한 2019년 재난은 베일 시설에서 댐이 파열되어 광산 폐기물이 쏟아져 약 270 명이 사망. 2020/12/08 - [해외 주식 종목추천/브라질기업] - 발레(Vale) : 브라질 니켈 광산회사

스크랩/메모 2021.01.26

(2021/01/22) 중국 몰디브덴 추매 목표가 5.270HK

중국 몰디브덴(China Molybdenum) : 중국 광산회사 추매 진입가: 언더 5.270HK 주요 뉴스 (2020/12/13) 중국 몰리브덴(China Molybdenum Co)은 미국 Freeport-McMoRan Inc 로부터 5억 5천만 달러에 콩고 민주 공화국(DRC)의 Kisanfu 구리-코발트 광산 지분 95%를 인수했다고 밝혔다. China Molybdenum은 2016년 초에 논의된 미개발 Kisanfu프로젝트를 인수함으로써 China Moly가 이미 거대한 Tenke Fungurume 광산을 운영하고있는 세계 최고의 배터리 금속 코발트 생산 업체인 DRC의 매장량을 늘렸습니다. Tenke Fungurume에서 남서쪽으로 약 33km (20.5 마일) 떨어진 Kisanfu는 약 628..

스크랩/메모 2021.01.22